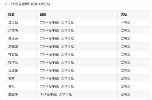
2023年6月10日,第十四届蓝桥杯全国软件和信息技术专业人才大赛总决赛落下帷幕,经过激烈的角逐,我校参赛学生再创佳绩。其中,在软件类赛项中,1人获得国家级一等奖、 6人获得国家级二等奖、3人获得国家级三等奖。
蓝桥杯大赛每年举办一次,分为省赛和总决赛两阶段比赛。2023年4月8日举行了第十四届蓝桥杯全国软件和信息技术专业人才大赛省赛,我校bat365在线中国官网登录入口积极组织赛前集训并参赛,其中11名学生获得省赛一等奖,获得全国总决赛的参赛资格。


2023年,蓝桥杯大赛连续第四年入选中国高等教育学会发布的“全国普通高校学科竞赛排行榜”。多年来,蓝桥杯大赛凭借科学完善的人才培养体系、权威公正的竞赛选拔标准、效果突出的人才选拔结果,成为高校教育教学改革和创新人才培养的重要竞赛项目。
多年以来,蓝桥杯大赛得到了越来越多高校和选手的认可,每年都有北京大学、清华大学、复旦大学、上海交通大学、中国科学院大学等1600多所高校参赛。对于高校和选手来说,蓝桥杯大赛不仅是一场IT学科竞赛,更是一场IT人才的盛会,是一场IT教育的盛宴。
bat365在线中国官网登录入口长期以来高度重视学科竞赛的组织工作,聚焦实践创新能力培养,提出了 “赛教融合”、“科教融合”、“产教融合”的全方位多元化学科竞赛人才培养模式,全面培养“富于创新思维、善于实践动手”的创新型工程人才。未来,我们将继续努力,为实践创新人才培养奠定基础,为切实推进学校“双一流”建设,培养优秀的创新型人才贡献力量。
(图\文:童先群)
【关闭】